x
伤感标签
伤感图片
伤感说说
伤感的句子说说心情
伤感图片
空间说说
心情说说
伤感图片带字
非主流伤感图片
爱情说说
女生伤感说说
人生感悟
唯美伤感图片
女生伤感图片
心情不好的说说
说说带图片
关于生活的说说
唯美意境图片
说说心情短语
悲伤的图片
唯美意境伤感图片
只有字的伤感图片
qq空间说说带图片
个性说说
说说图片
励志名言
伤心的图片
情感口述
一句话经典语录
美甲图片
图片大全
感悟人生的经典句子
短句吧
情感故事
情感图片
微信头像男
动态壁纸
抖音文案
动漫配图
伤感标签
首页
说说
动漫
口述
句子
图片
首页
>
反冲洗
反冲洗,反冲洗滤池
一种水处理设备的反冲洗装置的制作方法
用于反冲洗陶瓷膜的系统和方法技术方案
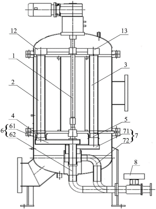
全自动反冲洗过滤器 乳化液过滤器 20um污水过滤器
反冲洗
一种反冲洗过滤器
更多推荐
反冲洗滤池
反冲洗装置
反冲洗原理图
过滤罐反冲洗流程图片
反冲洗装置原理图
反冲洗过滤器
反冲洗图解
反冲洗过滤器原理
冲洗
冲洗器
反冲洗原理
滤池反冲洗
反冲洗安装图
冲洗照片
医用冲洗器
冲洗器用法
泪道冲洗
自动反冲洗过滤器
妇科冲洗器
砂缸反冲洗示意图
鼻腔冲洗器
滤池反冲洗水流图解
污水处理反冲洗图解
反冲洗过滤器图片
高压冲洗车
反冲洗过滤器结构图
鱼缸反冲洗过滤器
冲洗器冲出霉菌图片
全自动反冲洗式过滤器
自动反冲洗过滤器图片
说说分类
伤感说说
空间说说
心情说说
爱情说说
女生伤感
人生感悟
心情不好
说说带图片
生活的说说
心情短语
qq空间说说
个性说说
励志名言
经典语录
感悟人生
伤感句子
短句吧
情感故事
图片分类
伤感图片
伤感带字
非主流伤感
唯美伤感
女生伤感
唯美意境
悲伤的图片
意境伤感
只有字伤感
说说图片
伤心的图片
美甲图片
图片大全