x
伤感标签
伤感图片
伤感说说
伤感的句子说说心情
伤感图片
空间说说
心情说说
伤感图片带字
非主流伤感图片
爱情说说
女生伤感说说
人生感悟
唯美伤感图片
女生伤感图片
心情不好的说说
说说带图片
关于生活的说说
唯美意境图片
说说心情短语
悲伤的图片
唯美意境伤感图片
只有字的伤感图片
qq空间说说带图片
个性说说
说说图片
励志名言
伤心的图片
情感口述
一句话经典语录
美甲图片
图片大全
感悟人生的经典句子
短句吧
情感故事
情感图片
微信头像男
动态壁纸
抖音文案
动漫配图
伤感标签
首页
说说
动漫
口述
句子
图片
首页
>
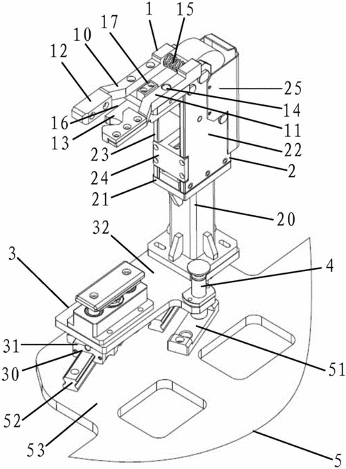
圆柱体自动抱紧装置
圆柱体自动抱紧装置,圆柱体抱紧装置
一种抱紧装置的制作方法
一种圆柱锂电池托盘抱紧机构抱紧装置及抱紧方法与流程
圆柱体工件夹紧机构的制作方法
一种轴类抱紧装置的制作方法
一种自动抱紧的轴类零件安全防护架的制作方法
更多推荐
圆柱体抱紧装置
自动抱紧装置
轴抱紧装置
圆柱体物体
圆柱面快速锁紧装置图
旋转抱紧装置
圆柱体立体图
抱紧装置
圆柱体快速装夹夹具
圆柱体几何体
圆柱体
固定圆柱体的夹具
圆柱体图片立体图
圆柱体展开图手工
圆柱体制作方法
圆柱体怎么画
圆柱体图片实物
圆柱体卡通
圆柱体石膏
立体机动装置
各种圆柱体图片
圆柱体图片
圆柱体素描
自动夹持装置
圆柱体手工制作
圆柱体素描步骤
圆柱体积公式
圆柱体素描学生
圆柱体简笔画
双电源自动切换装置
说说分类
伤感说说
空间说说
心情说说
爱情说说
女生伤感
人生感悟
心情不好
说说带图片
生活的说说
心情短语
qq空间说说
个性说说
励志名言
经典语录
感悟人生
伤感句子
短句吧
情感故事
图片分类
伤感图片
伤感带字
非主流伤感
唯美伤感
女生伤感
唯美意境
悲伤的图片
意境伤感
只有字伤感
说说图片
伤心的图片
美甲图片
图片大全