x
伤感标签
伤感图片
伤感说说
伤感的句子说说心情
伤感图片
空间说说
心情说说
伤感图片带字
非主流伤感图片
爱情说说
女生伤感说说
人生感悟
唯美伤感图片
女生伤感图片
心情不好的说说
说说带图片
关于生活的说说
唯美意境图片
说说心情短语
悲伤的图片
唯美意境伤感图片
只有字的伤感图片
qq空间说说带图片
个性说说
说说图片
励志名言
伤心的图片
情感口述
一句话经典语录
美甲图片
图片大全
感悟人生的经典句子
短句吧
情感故事
情感图片
微信头像男
动态壁纸
抖音文案
动漫配图
伤感标签
首页
说说
动漫
口述
句子
图片
首页
>
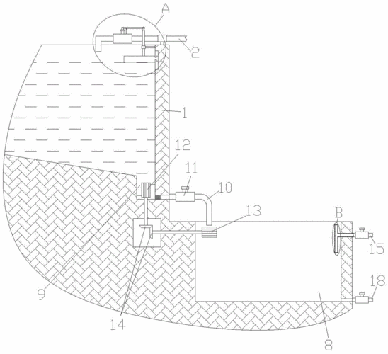
鱼塘底自动排污水图
鱼塘底自动排污水图,底排污设计图
二,排污流程及原理 1,分别拔起插管井中的两个白色管,让底部污水
水产养殖户如何在深水塘中修建底排污
中国污水处理工程网 技术转移 >> 正文 权利要求书 1.
一种鱼塘换水清新设备制造技术
一种鱼塘养殖排污补水系统的制作方法
更多推荐
底排污设计图
鱼塘放水口闸门设计图
鱼塘阶梯式出水口图片
鱼塘拔管式出水口图片
鱼塘排水管
鱼池循环水过滤示意图
鱼塘排水闸口图
鱼塘拔管排水设计图
鱼池底部排水图片
鱼塘底排水开关原理图
虾塘中央排污布置图
鱼塘巧妙的底排污水
鱼池底部排污系统图
鱼塘排水设计
鱼塘排水口设计图片
鱼塘虹吸式排水
鱼塘底排污管道安装
鱼池底排污原理图
鱼塘底排污设计图
池塘底排污安装图
鱼塘排水口pc管设计图
鱼池自动排污原理
鱼池全自动排污设计图
鱼塘底部排污结构图
鱼塘排污设计图
鱼塘底排水设计
鱼塘排水口设计图
虾池底部排污设计图
鱼池底排污设计
标准鱼塘建造图
说说分类
伤感说说
空间说说
心情说说
爱情说说
女生伤感
人生感悟
心情不好
说说带图片
生活的说说
心情短语
qq空间说说
个性说说
励志名言
经典语录
感悟人生
伤感句子
短句吧
情感故事
图片分类
伤感图片
伤感带字
非主流伤感
唯美伤感
女生伤感
唯美意境
悲伤的图片
意境伤感
只有字伤感
说说图片
伤心的图片
美甲图片
图片大全