x
伤感标签
伤感图片
伤感说说
伤感的句子说说心情
伤感图片
空间说说
心情说说
伤感图片带字
非主流伤感图片
爱情说说
女生伤感说说
人生感悟
唯美伤感图片
女生伤感图片
心情不好的说说
说说带图片
关于生活的说说
唯美意境图片
说说心情短语
悲伤的图片
唯美意境伤感图片
只有字的伤感图片
qq空间说说带图片
个性说说
说说图片
励志名言
伤心的图片
情感口述
一句话经典语录
美甲图片
图片大全
感悟人生的经典句子
短句吧
情感故事
情感图片
微信头像男
动态壁纸
抖音文案
动漫配图
伤感标签
首页
说说
动漫
口述
句子
图片
首页
>
小区门口道闸杆简笔画
小区门口道闸杆简笔画,小区门口道闸杆闸门
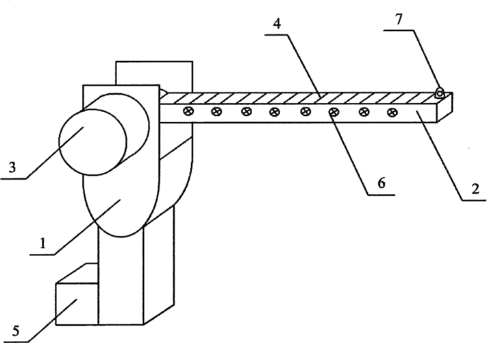
一种太阳能道闸机制造技术
安装定制小区大门口自动门卫升降杆 电动起落栏杆 学校园区道闸杆
卡通系统曙懿停车场收费道闸机小区出入口系统
一体化道闸(守护者)
cn305187130s_道闸有效
更多推荐
小区门口道闸杆闸门
小区门口简笔画
小区门口道闸杆图片
小区门口道闸杆
小区门口道闸杆自动
小区门口道闸杆修复
小区大门简笔画
小区门口道闸杆多少钱
小区门口道闸
小区门口道闸杆撞坏
小区门口智能道闸
校门口简笔画简单
公园门口简笔画简单
校门口简笔画
小区大门道闸效果图
动物园门口简笔画
门口石狮子简笔画
公园门口简笔画
小学大门简笔画
幼儿园门口简笔画
校门口简笔画动漫
小区道闸图片
小区道闸
小区进出口道闸
小区门口栏杆图片
动物园大门简笔画
公园大门简笔画
学校大门简笔画
幼儿园大门简笔画
小区门口
说说分类
伤感说说
空间说说
心情说说
爱情说说
女生伤感
人生感悟
心情不好
说说带图片
生活的说说
心情短语
qq空间说说
个性说说
励志名言
经典语录
感悟人生
伤感句子
短句吧
情感故事
图片分类
伤感图片
伤感带字
非主流伤感
唯美伤感
女生伤感
唯美意境
悲伤的图片
意境伤感
只有字伤感
说说图片
伤心的图片
美甲图片
图片大全