x
伤感标签
伤感图片
伤感说说
伤感的句子说说心情
伤感图片
空间说说
心情说说
伤感图片带字
非主流伤感图片
爱情说说
女生伤感说说
人生感悟
唯美伤感图片
女生伤感图片
心情不好的说说
说说带图片
关于生活的说说
唯美意境图片
说说心情短语
悲伤的图片
唯美意境伤感图片
只有字的伤感图片
qq空间说说带图片
个性说说
说说图片
励志名言
伤心的图片
情感口述
一句话经典语录
美甲图片
图片大全
感悟人生的经典句子
短句吧
情感故事
情感图片
微信头像男
动态壁纸
抖音文案
动漫配图
伤感标签
首页
说说
动漫
口述
句子
图片
首页
>
空调油分离器安装图
空调油分离器安装图,制冷油分离器安装图
油分离器
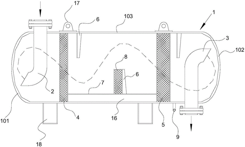
一种回转式压缩机油分离器的制作方法
cn212362527u_油分离器及空调机组有效
气体的液化或固化装置的制造及其应用技术 所述压缩机,所述油分离器
空调制冷有限公司专利 >正文 【技术实现步骤摘要】 油分离器及采用
更多推荐
制冷油分离器安装图
空调油分离器
空调油分离器原理图片
压缩机油分离器安装图
空调气液分离器结构图
空调气液分离器
制冷油分离器
氟利昂油分离器原理图
制冷系统油分离器
油分离器内部结构图
制冷机油分离器结构图
空调安装步骤图解
油分离器
油分离器工作原理
油雾分离器的原理图解
旧空调安装步骤图解
油分离器型号
油雾分离器工作原理图
油液分离器
油分离器内部结构
水油分离器
挂式空调安装步骤图
油雾分离器
空调安装图片效果图
空调安装效果图
三相分离器结构图
空调安装
空调安装图片
艾默生油分离器
汽水分离器结构图
说说分类
伤感说说
空间说说
心情说说
爱情说说
女生伤感
人生感悟
心情不好
说说带图片
生活的说说
心情短语
qq空间说说
个性说说
励志名言
经典语录
感悟人生
伤感句子
短句吧
情感故事
图片分类
伤感图片
伤感带字
非主流伤感
唯美伤感
女生伤感
唯美意境
悲伤的图片
意境伤感
只有字伤感
说说图片
伤心的图片
美甲图片
图片大全