x
伤感标签
伤感图片
伤感说说
伤感的句子说说心情
伤感图片
空间说说
心情说说
伤感图片带字
非主流伤感图片
爱情说说
女生伤感说说
人生感悟
唯美伤感图片
女生伤感图片
心情不好的说说
说说带图片
关于生活的说说
唯美意境图片
说说心情短语
悲伤的图片
唯美意境伤感图片
只有字的伤感图片
qq空间说说带图片
个性说说
说说图片
励志名言
伤心的图片
情感口述
一句话经典语录
美甲图片
图片大全
感悟人生的经典句子
短句吧
情感故事
情感图片
微信头像男
动态壁纸
抖音文案
动漫配图
伤感标签
首页
说说
动漫
口述
句子
图片
首页
>
油桶简笔画彩色
油桶简笔画彩色,油桶简笔画
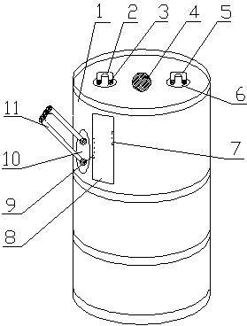
cn204453217u_一种粮油生产用大型油桶有效
卡通油桶矢量图下载
油桶
食用油矢量图
第一个就是油桶了,占用背包20容量.
更多推荐
油桶简笔画
蝴蝶简笔画彩色
汽油桶简笔画
小鸟简笔画简单
牛简笔画简单
油桶绘画
油桶画卡通
油桶画创意
简笔画
花朵简笔画
灯笼简笔画
小鸟简笔画
交通工具简笔画
简笔画图片大全
简笔画可爱
蝴蝶简笔画
小鸟简笔画可爱
人物简笔画
生活用品简笔画
青蛙简笔画
房子简笔画
用户作品简笔画
卡通简笔画
长颈鹿简笔画
火箭简笔画
小鸟简笔画小班
风景简笔画
服饰简笔画
牛简笔画
树简笔画
说说分类
伤感说说
空间说说
心情说说
爱情说说
女生伤感
人生感悟
心情不好
说说带图片
生活的说说
心情短语
qq空间说说
个性说说
励志名言
经典语录
感悟人生
伤感句子
短句吧
情感故事
图片分类
伤感图片
伤感带字
非主流伤感
唯美伤感
女生伤感
唯美意境
悲伤的图片
意境伤感
只有字伤感
说说图片
伤心的图片
美甲图片
图片大全