x
伤感标签
伤感图片
伤感说说
伤感的句子说说心情
伤感图片
空间说说
心情说说
伤感图片带字
非主流伤感图片
爱情说说
女生伤感说说
人生感悟
唯美伤感图片
女生伤感图片
心情不好的说说
说说带图片
关于生活的说说
唯美意境图片
说说心情短语
悲伤的图片
唯美意境伤感图片
只有字的伤感图片
qq空间说说带图片
个性说说
说说图片
励志名言
伤心的图片
情感口述
一句话经典语录
美甲图片
图片大全
感悟人生的经典句子
短句吧
情感故事
情感图片
微信头像男
动态壁纸
抖音文案
动漫配图
伤感标签
首页
说说
动漫
口述
句子
图片
首页
>
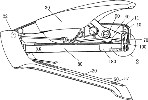
订书机机构运动简图
订书机机构运动简图,订书机的连杆机构简图
手动冲压机,求画机构运动简图以及计算自由度.
限制撞针运动的订书机保险装置
机构及机构运动简图ppt
模块一 平面机构的运动简图ppt
机构的基本概念讲解,机构运动简图,机构自由度的计算方法
更多推荐
订书机的连杆机构简图
得力订书机0358解剖图
订书机机械运动简图
简单机械机构运动简图
缝纫机机构运动简图
剪床机构运动简图
订书机结构简图
铆钉机构运动简图
机构运动简图
平面机构运动简图
齿轮机构运动简图
机构运动简图例题
机构运动简图画法
连杆机构运动简图
正弦机构运动简图图片
机构简图结构图
铆钉机构运动简图绘制
差动轮系机构运动简图
正弦机构运动简图
偏心轮机构运动简图
剪床机构运动简图绘制
机构运动简图的测绘
曲柄滑块机构运动简图
齿轮摆杆机构运动简图
牛头刨床机构运动简图
曲柄摇杆机构运动简图
机械运动简图
转动导杆泵机构简图
常见机构运动简图大全
摆动导杆泵运动简图
说说分类
伤感说说
空间说说
心情说说
爱情说说
女生伤感
人生感悟
心情不好
说说带图片
生活的说说
心情短语
qq空间说说
个性说说
励志名言
经典语录
感悟人生
伤感句子
短句吧
情感故事
图片分类
伤感图片
伤感带字
非主流伤感
唯美伤感
女生伤感
唯美意境
悲伤的图片
意境伤感
只有字伤感
说说图片
伤心的图片
美甲图片
图片大全