x
伤感标签
伤感图片
伤感说说
伤感的句子说说心情
伤感图片
空间说说
心情说说
伤感图片带字
非主流伤感图片
爱情说说
女生伤感说说
人生感悟
唯美伤感图片
女生伤感图片
心情不好的说说
说说带图片
关于生活的说说
唯美意境图片
说说心情短语
悲伤的图片
唯美意境伤感图片
只有字的伤感图片
qq空间说说带图片
个性说说
说说图片
励志名言
伤心的图片
情感口述
一句话经典语录
美甲图片
图片大全
感悟人生的经典句子
短句吧
情感故事
情感图片
微信头像男
动态壁纸
抖音文案
动漫配图
伤感标签
首页
说说
动漫
口述
句子
图片
首页
>
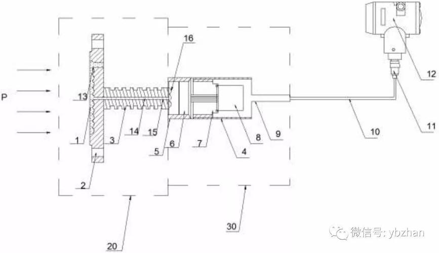
压差传感器工作原理图
压差传感器工作原理图,水流传感器工作原理图
传感器交互原理介绍方案_炫群_展馆建设_展馆互动多
专利丨高温远传压力差压变送器
差压式液位计c电容测厚仪电容加速度传感器频率差法测量流量的原理
上润bgp/bdp远传压力/差压变送器,压力传感器 - 仪器
各种仪表工作原理动图,看一眼就懂
更多推荐
水流传感器工作原理图
传感器的工作原理
ph传感器工作原理图
油位传感器工作原理图
红外传感器工作原理图
重力传感器工作原理
水位传感器工作原理
霍尔传感器工作原理
红外传感器的工作原理
压电式传感器原理图
压差传感器安装示意图
压差传感器安装图
压差传感器
压差传感器图片
压差传感器安装
水位传感器原理图
三线霍尔传感器原理图
差速器工作原理
三线水位传感器原理图
消防压差传感器
压力传感器接线图
压电传感器
热继电器工作原理
压电式传感器
发动机工作原理
压阻式传感器
压电薄膜传感器
轨压传感器
传感器示意图
江铃压差传感器
说说分类
伤感说说
空间说说
心情说说
爱情说说
女生伤感
人生感悟
心情不好
说说带图片
生活的说说
心情短语
qq空间说说
个性说说
励志名言
经典语录
感悟人生
伤感句子
短句吧
情感故事
图片分类
伤感图片
伤感带字
非主流伤感
唯美伤感
女生伤感
唯美意境
悲伤的图片
意境伤感
只有字伤感
说说图片
伤心的图片
美甲图片
图片大全