x
伤感标签
伤感图片
伤感说说
伤感的句子说说心情
伤感图片
空间说说
心情说说
伤感图片带字
非主流伤感图片
爱情说说
女生伤感说说
人生感悟
唯美伤感图片
女生伤感图片
心情不好的说说
说说带图片
关于生活的说说
唯美意境图片
说说心情短语
悲伤的图片
唯美意境伤感图片
只有字的伤感图片
qq空间说说带图片
个性说说
说说图片
励志名言
伤心的图片
情感口述
一句话经典语录
美甲图片
图片大全
感悟人生的经典句子
短句吧
情感故事
情感图片
微信头像男
动态壁纸
抖音文案
动漫配图
伤感标签
首页
说说
动漫
口述
句子
图片
首页
>
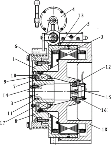
曳引机结构
曳引机结构,曳引机结构图
4款 wyt-h无齿轮永磁同步曳引机
一种永磁同步曳引机
一种强驱曳引机的制作方法
一种强驱曳引机
电梯曳引机解剖装置|电梯实训室设备
更多推荐
曳引机结构图
无机房曳引机
电梯曳引机结构图
曳引机
电梯曳引机
曳引机磁钢
通力曳引机
无齿轮曳引机
有齿轮曳引机
曳引机图片
蒙特纳利曳引机
日立电梯曳引机
三菱电梯曳引机
通力电梯曳引机
永磁同步曳引机
电梯曳引机图片
电梯曳引机制动器
三菱电梯曳引机型号
电梯曳引机抱闸制动器
永磁同步曳引机分解图
永磁曳引机内部拆解图
曳引机左右抱闸接线图
结构
高的结构
包的结构
人体结构图
人体结构
鱼的结构
结构胶
热气球的结构
说说分类
伤感说说
空间说说
心情说说
爱情说说
女生伤感
人生感悟
心情不好
说说带图片
生活的说说
心情短语
qq空间说说
个性说说
励志名言
经典语录
感悟人生
伤感句子
短句吧
情感故事
图片分类
伤感图片
伤感带字
非主流伤感
唯美伤感
女生伤感
唯美意境
悲伤的图片
意境伤感
只有字伤感
说说图片
伤心的图片
美甲图片
图片大全