x
伤感标签
伤感图片
伤感说说
伤感的句子说说心情
伤感图片
空间说说
心情说说
伤感图片带字
非主流伤感图片
爱情说说
女生伤感说说
人生感悟
唯美伤感图片
女生伤感图片
心情不好的说说
说说带图片
关于生活的说说
唯美意境图片
说说心情短语
悲伤的图片
唯美意境伤感图片
只有字的伤感图片
qq空间说说带图片
个性说说
说说图片
励志名言
伤心的图片
情感口述
一句话经典语录
美甲图片
图片大全
感悟人生的经典句子
短句吧
情感故事
情感图片
微信头像男
动态壁纸
抖音文案
动漫配图
伤感标签
首页
说说
动漫
口述
句子
图片
首页
>
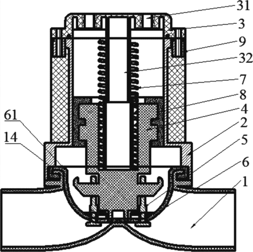
真空阀的工作原理
真空阀的工作原理,真空阀工作原理动态图
真空阀门的设计
节能型真空精密调压阀制造技术
nkj61真空截止阀
气动真空阀的制作方法
cn104776244a_真空气动隔膜阀失效
更多推荐
真空阀工作原理动态图
真空蝶阀的结构图
真空发生器的工作原理
smc电磁阀图解
真空阀的作用图解
真空排气阀原理图
真空阀原理图
smc电磁阀工作原理图
smc真空发生器原理图
真空电磁阀工作原理
真空压力阀
真空吸气阀工作原理
真空吸气阀原理
真空发生器结构图
真空破坏阀工作原理图
真空阀工作原理图
真空发生器一吸一吹图
真空发生器原理图动画
真空发生器工作原理
真空助力器工作原理
真空锅炉工作原理图
真空接触器工作原理
减压阀工作原理
真空机组工作原理图
真空水箱工作原理图
真空上料机的工作原理
预作用报警阀工作原理
真空助力泵工作原理图
离心泵的工作原理
发电机的工作原理
说说分类
伤感说说
空间说说
心情说说
爱情说说
女生伤感
人生感悟
心情不好
说说带图片
生活的说说
心情短语
qq空间说说
个性说说
励志名言
经典语录
感悟人生
伤感句子
短句吧
情感故事
图片分类
伤感图片
伤感带字
非主流伤感
唯美伤感
女生伤感
唯美意境
悲伤的图片
意境伤感
只有字伤感
说说图片
伤心的图片
美甲图片
图片大全