x
伤感标签
伤感图片
伤感说说
伤感的句子说说心情
伤感图片
空间说说
心情说说
伤感图片带字
非主流伤感图片
爱情说说
女生伤感说说
人生感悟
唯美伤感图片
女生伤感图片
心情不好的说说
说说带图片
关于生活的说说
唯美意境图片
说说心情短语
悲伤的图片
唯美意境伤感图片
只有字的伤感图片
qq空间说说带图片
个性说说
说说图片
励志名言
伤心的图片
情感口述
一句话经典语录
美甲图片
图片大全
感悟人生的经典句子
短句吧
情感故事
情感图片
微信头像男
动态壁纸
抖音文案
动漫配图
伤感标签
首页
说说
动漫
口述
句子
图片
首页
>
连接器生产工艺流程图
连接器生产工艺流程图,手机连接器模具结构图
磷铵生产工艺流程图
有机薄膜电容器生产工艺流程图
水泥生产工艺流程图
野外软光缆活动连接器及其应用
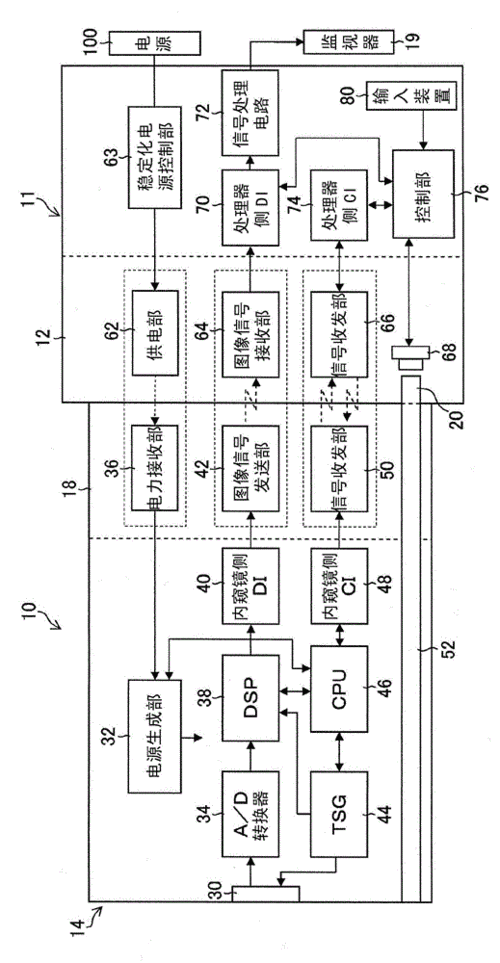
内窥镜系统,内窥镜,以及内窥镜用连接器的制作方法与工艺
更多推荐
手机连接器模具结构图
连接器工艺流程
连接器生产流程图
连接器生产
连接器和接插件
连接器注塑生产工艺
连接器种类
连接器
工业连接器
接线端子连接器
连接器图片
电子连接器
连接器型号
电连接器
网线连接器
电源连接器
管道连接器
电缆连接器
手机连接器
重载连接器
导线连接器
汽车连接器
射频连接器
连接器模具
同轴连接器
预应力连接器
等电位连接器
万向轴连接器
说说分类
伤感说说
空间说说
心情说说
爱情说说
女生伤感
人生感悟
心情不好
说说带图片
生活的说说
心情短语
qq空间说说
个性说说
励志名言
经典语录
感悟人生
伤感句子
短句吧
情感故事
图片分类
伤感图片
伤感带字
非主流伤感
唯美伤感
女生伤感
唯美意境
悲伤的图片
意境伤感
只有字伤感
说说图片
伤心的图片
美甲图片
图片大全