x
伤感标签
伤感图片
伤感说说
伤感的句子说说心情
伤感图片
空间说说
心情说说
伤感图片带字
非主流伤感图片
爱情说说
女生伤感说说
人生感悟
唯美伤感图片
女生伤感图片
心情不好的说说
说说带图片
关于生活的说说
唯美意境图片
说说心情短语
悲伤的图片
唯美意境伤感图片
只有字的伤感图片
qq空间说说带图片
个性说说
说说图片
励志名言
伤心的图片
情感口述
一句话经典语录
美甲图片
图片大全
感悟人生的经典句子
短句吧
情感故事
情感图片
微信头像男
动态壁纸
抖音文案
动漫配图
伤感标签
首页
说说
动漫
口述
句子
图片
首页
>
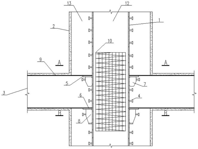
钢管混凝土叠合柱
钢管混凝土叠合柱,钢管混凝土
钢管混凝土叠合柱节点环梁试验研究_周颖
一种钢管混凝土叠合柱钢筋混凝土梁节点构造
[qc成果]提高钢管混凝土组合柱施工质量合格率ppt(36页)
一种中空钢管混凝土叠合柱62钢筋混凝土梁节点的
方钢管混凝土叠合柱在贵阳城乡规划展览馆项目的应用
更多推荐
钢管混凝土
钢管混凝土结构
混凝土
普通混凝土
轻集料混凝土
细石混凝土
现浇混凝土
陶粒混凝土
混凝土铣刨机
混凝土浇筑
发泡混凝土
混凝土试块
涂塑复合钢管
混凝土墙
彩色混凝土
混凝土配料表
混凝土增强剂
素混凝土
混凝土地泵
混凝土切割
清水混凝土
钢管
方钢管
透水混凝土
涂塑钢管
防腐钢管
镀锌钢管
钢管桩
混凝土贴图
一根钢管
说说分类
伤感说说
空间说说
心情说说
爱情说说
女生伤感
人生感悟
心情不好
说说带图片
生活的说说
心情短语
qq空间说说
个性说说
励志名言
经典语录
感悟人生
伤感句子
短句吧
情感故事
图片分类
伤感图片
伤感带字
非主流伤感
唯美伤感
女生伤感
唯美意境
悲伤的图片
意境伤感
只有字伤感
说说图片
伤心的图片
美甲图片
图片大全