x
伤感标签
伤感图片
伤感说说
伤感的句子说说心情
伤感图片
空间说说
心情说说
伤感图片带字
非主流伤感图片
爱情说说
女生伤感说说
人生感悟
唯美伤感图片
女生伤感图片
心情不好的说说
说说带图片
关于生活的说说
唯美意境图片
说说心情短语
悲伤的图片
唯美意境伤感图片
只有字的伤感图片
qq空间说说带图片
个性说说
说说图片
励志名言
伤心的图片
情感口述
一句话经典语录
美甲图片
图片大全
感悟人生的经典句子
短句吧
情感故事
情感图片
微信头像男
动态壁纸
抖音文案
动漫配图
伤感标签
首页
说说
动漫
口述
句子
图片
首页
>
冲击器拆解图
冲击器拆解图,20冲击钻拆解图
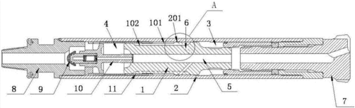
一种潜孔冲击器的制作方法
高风压潜孔冲击器制造技术
一种深孔作业潜孔冲击器的制作方法
高风压反循环冲击器制造技术
复合振动冲击器制造技术
更多推荐
20冲击钻拆解图
老式冲击钻拆解图
冲击器安装图
冲击器结构图
冲击器大全
90冲击器图片
90冲击器结构图
潜孔冲击器工作原理
球阀拆解图
渔轮拆解图
拆解
冰箱后背拆解图
纺车轮拆解组装图
炮钉枪的拆解图
老式球形锁完全拆解图
一体麦克风拆解图
电推剪刀头拆解图
手机拆解
洗车机泵头拆解图
电机拆解
防盗门锁盒内部拆解图
欧文s2拆解
枪械拆解
汽车拆解
电子烟结构拆解图
汽车拆解设备
嵌入式燃气灶拆解图
鲁班球拆解
报废汽车拆解
欧文low4气垫拆解
说说分类
伤感说说
空间说说
心情说说
爱情说说
女生伤感
人生感悟
心情不好
说说带图片
生活的说说
心情短语
qq空间说说
个性说说
励志名言
经典语录
感悟人生
伤感句子
短句吧
情感故事
图片分类
伤感图片
伤感带字
非主流伤感
唯美伤感
女生伤感
唯美意境
悲伤的图片
意境伤感
只有字伤感
说说图片
伤心的图片
美甲图片
图片大全