x
伤感标签
伤感图片
伤感说说
伤感的句子说说心情
伤感图片
空间说说
心情说说
伤感图片带字
非主流伤感图片
爱情说说
女生伤感说说
人生感悟
唯美伤感图片
女生伤感图片
心情不好的说说
说说带图片
关于生活的说说
唯美意境图片
说说心情短语
悲伤的图片
唯美意境伤感图片
只有字的伤感图片
qq空间说说带图片
个性说说
说说图片
励志名言
伤心的图片
情感口述
一句话经典语录
美甲图片
图片大全
感悟人生的经典句子
短句吧
情感故事
情感图片
微信头像男
动态壁纸
抖音文案
动漫配图
伤感标签
首页
说说
动漫
口述
句子
图片
首页
>
手动刹车装置
手动刹车装置,汽车刹车装置
供应自行车铝合金钳型闸-刹车装置
低速行驶刹车装置的制作方法
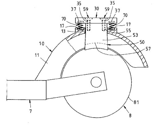
cn2436203y_滑板车后轮刹车装置失效
一种全地形车,汽车及其刹车换挡锁止装置的制作方法
副刹车装置副刹车器
更多推荐
汽车刹车装置
自行车刹车装置
刹车装置
手动升降装置
电机刹车装置
自行车刹车装置原理
手动提升装置
手动开启装置
手动旋转装置
自动挡刹车
教练车副刹车装置图解
气刹调刹车图解
刹车油门位置
汽车刹车在哪个位置
手动挡油门刹车位置图
汽车刹车
自动挡刹车油门位置
汽车油门刹车位置图
手动升降装置简易
自行车刹车安装图解
教练车副刹车
自行车刹车
刹车
刹车泵
副刹车安装图解
油门刹车离合位置
教练车副刹车安装图解
刹车原理
刹车灯
手摇升降装置
说说分类
伤感说说
空间说说
心情说说
爱情说说
女生伤感
人生感悟
心情不好
说说带图片
生活的说说
心情短语
qq空间说说
个性说说
励志名言
经典语录
感悟人生
伤感句子
短句吧
情感故事
图片分类
伤感图片
伤感带字
非主流伤感
唯美伤感
女生伤感
唯美意境
悲伤的图片
意境伤感
只有字伤感
说说图片
伤心的图片
美甲图片
图片大全