x
伤感标签
伤感图片
伤感说说
伤感的句子说说心情
伤感图片
空间说说
心情说说
伤感图片带字
非主流伤感图片
爱情说说
女生伤感说说
人生感悟
唯美伤感图片
女生伤感图片
心情不好的说说
说说带图片
关于生活的说说
唯美意境图片
说说心情短语
悲伤的图片
唯美意境伤感图片
只有字的伤感图片
qq空间说说带图片
个性说说
说说图片
励志名言
伤心的图片
情感口述
一句话经典语录
美甲图片
图片大全
感悟人生的经典句子
短句吧
情感故事
情感图片
微信头像男
动态壁纸
抖音文案
动漫配图
伤感标签
首页
说说
动漫
口述
句子
图片
首页
>
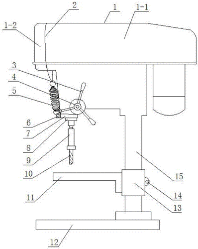
台钻的构造图
台钻的构造图,台钻的所有零件
台式钻床
一种小孔精密振动加工台钻
半自动钻床ghd-14s手动钻床台式钻床可加多轴器进口台钻
台式钻床的制作方法
手摇台钻
更多推荐
台钻的所有零件
台钻升降结构图
台钻主轴拆卸步骤图解
台钻主轴结构图
台钻结构图
台钻详细结构图
台钻接线图图解
台钻接线图
台钻图片
台钻主轴升降结构图
台钻开关接线图图解
台钻零件分解图
台钻钻孔
台钻钻床
最简单的自制台钻图
台钻水钻
自制台钻升降杆图
身体构造结构图器官图
台钻
小台钻
台钻小型
多功能台钻
台钻型号
台钻手摇
台钻架子制作图片
人体构造图
人工自制台钻架图片
380v台钻接线图
台钻价格
台钻夹头
说说分类
伤感说说
空间说说
心情说说
爱情说说
女生伤感
人生感悟
心情不好
说说带图片
生活的说说
心情短语
qq空间说说
个性说说
励志名言
经典语录
感悟人生
伤感句子
短句吧
情感故事
图片分类
伤感图片
伤感带字
非主流伤感
唯美伤感
女生伤感
唯美意境
悲伤的图片
意境伤感
只有字伤感
说说图片
伤心的图片
美甲图片
图片大全