x
伤感标签
伤感图片
伤感说说
伤感的句子说说心情
伤感图片
空间说说
心情说说
伤感图片带字
非主流伤感图片
爱情说说
女生伤感说说
人生感悟
唯美伤感图片
女生伤感图片
心情不好的说说
说说带图片
关于生活的说说
唯美意境图片
说说心情短语
悲伤的图片
唯美意境伤感图片
只有字的伤感图片
qq空间说说带图片
个性说说
说说图片
励志名言
伤心的图片
情感口述
一句话经典语录
美甲图片
图片大全
感悟人生的经典句子
短句吧
情感故事
情感图片
微信头像男
动态壁纸
抖音文案
动漫配图
伤感标签
首页
说说
动漫
口述
句子
图片
首页
>
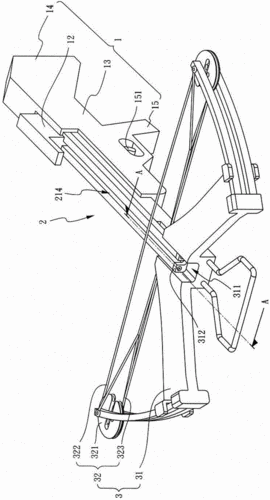
弓箭陷阱分解图
弓箭陷阱分解图,自动弓箭陷阱
男子用弓箭捕鱼,结果射中了可怕的巨物 01:01 贪吃的野猪误入猎人陷阱
弓箭装置制造方法及图纸
我的世界隐藏射箭陷阱制作教程(3)
技巧教程 绊线钩射箭陷阱
我的世界弓箭怎么做
更多推荐
自动弓箭陷阱
野外弓箭机关陷阱
弓箭陷阱
分十法分解式图
弓箭图片
简单陷阱图
陷阱图
弓箭箭头
九宫格分解图分开
触发式陷阱机关制作图
弓箭
现代弓箭
踩发绳套陷阱制作图解
陷阱大全带图
弓箭武器
弓箭人物
九宫格分解图
十种触发式陷阱制作
逐帧动画分解图
动画动作分解图
弓箭画法
活捉野鸡陷阱制作图解
走路分解图
掉陷阱的图片
弓箭怎么画
陷阱简单
九宫格爱心分解图
人的部位分解图
弓箭古代
弓箭可爱
说说分类
伤感说说
空间说说
心情说说
爱情说说
女生伤感
人生感悟
心情不好
说说带图片
生活的说说
心情短语
qq空间说说
个性说说
励志名言
经典语录
感悟人生
伤感句子
短句吧
情感故事
图片分类
伤感图片
伤感带字
非主流伤感
唯美伤感
女生伤感
唯美意境
悲伤的图片
意境伤感
只有字伤感
说说图片
伤心的图片
美甲图片
图片大全