x
伤感标签
伤感图片
伤感说说
伤感的句子说说心情
伤感图片
空间说说
心情说说
伤感图片带字
非主流伤感图片
爱情说说
女生伤感说说
人生感悟
唯美伤感图片
女生伤感图片
心情不好的说说
说说带图片
关于生活的说说
唯美意境图片
说说心情短语
悲伤的图片
唯美意境伤感图片
只有字的伤感图片
qq空间说说带图片
个性说说
说说图片
励志名言
伤心的图片
情感口述
一句话经典语录
美甲图片
图片大全
感悟人生的经典句子
短句吧
情感故事
情感图片
微信头像男
动态壁纸
抖音文案
动漫配图
伤感标签
首页
说说
动漫
口述
句子
图片
首页
>
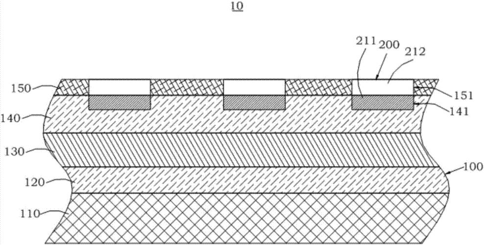
水性聚氨酯结构
水性聚氨酯结构,水性聚氨酯
工业聚氨酯地坪涂料, 水性聚氨酯面涂,超耐磨聚氨酯面涂等. 环氧
水性聚氨酯教学课件pptppt
水性聚氨酯涂料地坪结构制造技术
水性聚氨酯组会ppt
水性聚氨酯技术(ppt)
更多推荐
水性聚氨酯
水性聚氨酯树脂
水性聚氨酯地坪
水性聚氨酯胶
水性聚氨酯清漆
水性聚氨酯罩面
水性聚氨酯发泡剂
单组份水性聚氨酯
水性聚氨酯面漆
水性聚氨酯分子式
水性聚氨酯手套
水性聚氨酯固化剂
水性聚氨酯注浆液
拜耳水性聚氨酯
水性聚氨酯罩面漆
水性聚氨酯合成革
水性聚氨酯胶粘剂
科思创水性聚氨酯
水性聚氨酯地坪图片
水性聚氨酯发泡堵漏剂
水性聚氨酯检测报告
水性聚氨酯避孕套
水性聚氨酯皮革涂试剂
结构
结构胶
包的结构
高的结构
牙齿结构
人体结构
种子的结构
说说分类
伤感说说
空间说说
心情说说
爱情说说
女生伤感
人生感悟
心情不好
说说带图片
生活的说说
心情短语
qq空间说说
个性说说
励志名言
经典语录
感悟人生
伤感句子
短句吧
情感故事
图片分类
伤感图片
伤感带字
非主流伤感
唯美伤感
女生伤感
唯美意境
悲伤的图片
意境伤感
只有字伤感
说说图片
伤心的图片
美甲图片
图片大全