x
伤感标签
伤感图片
伤感说说
伤感的句子说说心情
伤感图片
空间说说
心情说说
伤感图片带字
非主流伤感图片
爱情说说
女生伤感说说
人生感悟
唯美伤感图片
女生伤感图片
心情不好的说说
说说带图片
关于生活的说说
唯美意境图片
说说心情短语
悲伤的图片
唯美意境伤感图片
只有字的伤感图片
qq空间说说带图片
个性说说
说说图片
励志名言
伤心的图片
情感口述
一句话经典语录
美甲图片
图片大全
感悟人生的经典句子
短句吧
情感故事
情感图片
微信头像男
动态壁纸
抖音文案
动漫配图
伤感标签
首页
说说
动漫
口述
句子
图片
首页
>
阻尼器结构
阻尼器结构,阻尼器图片
一种马桶盖板用缓降阻尼器的制作方法
一种后减震器制造技术,摩托车后减震器结构图专利_技
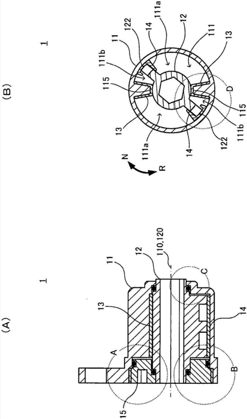
旋转式阻尼器的制作方法
旋转式阻尼器的制作方法
一种多孔气动阻尼器的制作方法
更多推荐
阻尼器图片
阻尼器大全
抗震阻尼器
阻尼结构
阻尼器工作原理
旋转阻尼器结构原理图
阻尼器大楼
阻尼器结构原理
旋转阻尼器结构
阻尼器
阻尼器种类
风阻尼器
楼房阻尼器
旋转阻尼器内部结构图
旋转阻尼器原理
可调阻力的旋转阻尼器
大楼阻尼器原理
旋转轴用阻尼器
阻尼器的工作原理
阻尼器工作原理图
阻尼转轴的内部结构
抗震阻尼器图片
自制旋转阻尼器
旋转阻尼器工作原理
工业用旋转阻尼器
建筑抗震阻尼器
建筑阻尼器图片
机械旋转阻尼器原理
上海中心阻尼器
弹簧旋转阻尼器原理图
说说分类
伤感说说
空间说说
心情说说
爱情说说
女生伤感
人生感悟
心情不好
说说带图片
生活的说说
心情短语
qq空间说说
个性说说
励志名言
经典语录
感悟人生
伤感句子
短句吧
情感故事
图片分类
伤感图片
伤感带字
非主流伤感
唯美伤感
女生伤感
唯美意境
悲伤的图片
意境伤感
只有字伤感
说说图片
伤心的图片
美甲图片
图片大全