x
伤感标签
伤感图片
伤感说说
伤感的句子说说心情
伤感图片
空间说说
心情说说
伤感图片带字
非主流伤感图片
爱情说说
女生伤感说说
人生感悟
唯美伤感图片
女生伤感图片
心情不好的说说
说说带图片
关于生活的说说
唯美意境图片
说说心情短语
悲伤的图片
唯美意境伤感图片
只有字的伤感图片
qq空间说说带图片
个性说说
说说图片
励志名言
伤心的图片
情感口述
一句话经典语录
美甲图片
图片大全
感悟人生的经典句子
短句吧
情感故事
情感图片
微信头像男
动态壁纸
抖音文案
动漫配图
伤感标签
首页
说说
动漫
口述
句子
图片
首页
>
造粒机原理动画
造粒机原理动画,造粒机原理
gzl系列干法辊压造粒机
低烟无卤挤出机制造技术,低烟无卤电缆料造粒机专利_技高网
cn206463917u_一种有机肥造粒机有效
干法造粒机
lbm干法辊压造粒机
更多推荐
造粒机原理
造粒机造粒全过程
振动盘原理动画
有机肥专用造粒机
有机肥造粒机
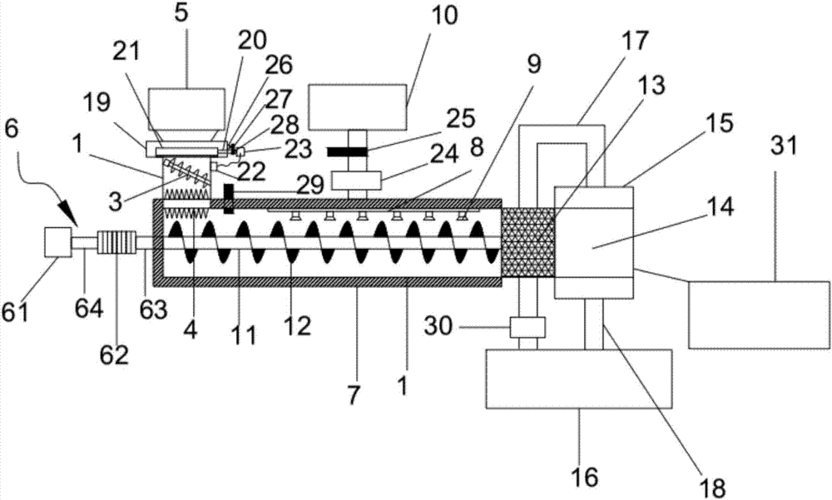
挤压造粒机结构原理图
真空吸料机原理动画
透平膨胀机原理动画
转鼓造粒机
造粒机
单螺杆造粒机
造粒机结构
动画的原理
造粒机成套设备
小型造粒机
胀套原理动画
造粒机结构图
水封井原理动画
液压原理动画
避雷针原理动画
圆盘造粒机
挤压造粒机
对辊造粒机
多彩造粒机
喷雾造粒机
双螺杆造粒机
塑料再生造粒机
干法造粒机
树脂造粒机
塑料造粒机
说说分类
伤感说说
空间说说
心情说说
爱情说说
女生伤感
人生感悟
心情不好
说说带图片
生活的说说
心情短语
qq空间说说
个性说说
励志名言
经典语录
感悟人生
伤感句子
短句吧
情感故事
图片分类
伤感图片
伤感带字
非主流伤感
唯美伤感
女生伤感
唯美意境
悲伤的图片
意境伤感
只有字伤感
说说图片
伤心的图片
美甲图片
图片大全