x
伤感标签
伤感图片
伤感说说
伤感的句子说说心情
伤感图片
空间说说
心情说说
伤感图片带字
非主流伤感图片
爱情说说
女生伤感说说
人生感悟
唯美伤感图片
女生伤感图片
心情不好的说说
说说带图片
关于生活的说说
唯美意境图片
说说心情短语
悲伤的图片
唯美意境伤感图片
只有字的伤感图片
qq空间说说带图片
个性说说
说说图片
励志名言
伤心的图片
情感口述
一句话经典语录
美甲图片
图片大全
感悟人生的经典句子
短句吧
情感故事
情感图片
微信头像男
动态壁纸
抖音文案
动漫配图
伤感标签
首页
说说
动漫
口述
句子
图片
首页
>
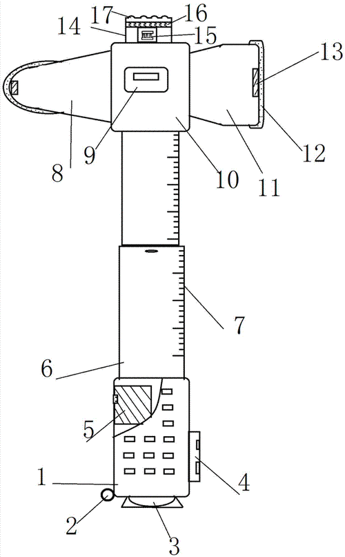
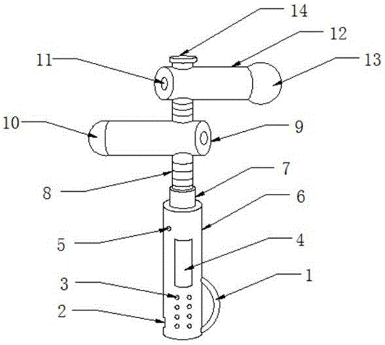
叩诊锤的用法图解
叩诊锤的用法图解,大抓夹的用法图解
叩诊锤 三角叩诊锤 叩诊锤医用 叩诊锤套装 医用扣诊锤
厂家直销三角软胶神经诊断锤 膝跳反射诊断 三角叩诊锤 四色可选
一种多功能叩诊锤制造技术
一种神经外科用用叩诊锤的制作方法
一种神经内科用叩诊锤制造技术,叩诊锤的用法图解专利_技高网
更多推荐
大抓夹的用法图解
刀纸的用法图解
开塞露的用法图解
竿止用法图解
口爱膜用法图解
一字夹的正确用法图解
冲洗器的正确用法图解
的地得的用法
床上大便器用法图解
八爪椅用法图解
各种化妆刷的用法图解
五个other用法图解
12支化妆刷的用法图解
一个人开塞露用法图解
other一族的用法图解
开塞露用法示意图
采耳工具用法名称图解
鱼竿竿止用法图解
采耳工具全套用法图解
18件指甲刀用法图解
医用叩诊锤
双引号的正确用法图
三角叩诊锤
叩诊锤图片
指甲刀19件套用法图解
标点符号的正确用法图
曲别针的用法
八爪椅子用法动画图
五个other的区别图解
妇炎洁用法步骤图片
说说分类
伤感说说
空间说说
心情说说
爱情说说
女生伤感
人生感悟
心情不好
说说带图片
生活的说说
心情短语
qq空间说说
个性说说
励志名言
经典语录
感悟人生
伤感句子
短句吧
情感故事
图片分类
伤感图片
伤感带字
非主流伤感
唯美伤感
女生伤感
唯美意境
悲伤的图片
意境伤感
只有字伤感
说说图片
伤心的图片
美甲图片
图片大全