x
伤感标签
伤感图片
伤感说说
伤感的句子说说心情
伤感图片
空间说说
心情说说
伤感图片带字
非主流伤感图片
爱情说说
女生伤感说说
人生感悟
唯美伤感图片
女生伤感图片
心情不好的说说
说说带图片
关于生活的说说
唯美意境图片
说说心情短语
悲伤的图片
唯美意境伤感图片
只有字的伤感图片
qq空间说说带图片
个性说说
说说图片
励志名言
伤心的图片
情感口述
一句话经典语录
美甲图片
图片大全
感悟人生的经典句子
短句吧
情感故事
情感图片
微信头像男
动态壁纸
抖音文案
动漫配图
伤感标签
首页
说说
动漫
口述
句子
图片
首页
>
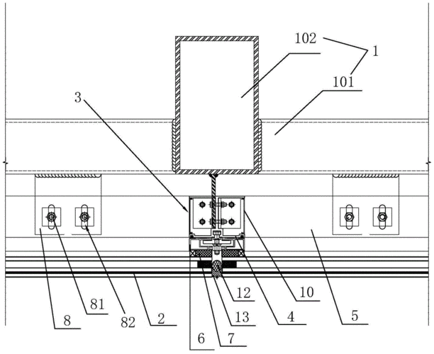
框支撑玻璃幕墙
框支撑玻璃幕墙,全玻玻璃幕墙
有框幕墙由面板,横梁,立柱构成,点支幕墙由玻璃板,支承装置和支承钢
一种大跨度玻璃幕墙的制作方法
一种大跨度隐框玻璃幕墙的制作方法
明框隐框玻璃幕墙承接建筑铝合金门窗幕墙定制生产加工组装安装
在上下部各加设支撑框架和支撑横档,首页 工程类型 无骨架玻璃幕墙
更多推荐
全玻玻璃幕墙
玻璃肋
点支撑玻璃幕墙
带肋全玻璃幕墙图片
无框玻璃幕墙
单元式玻璃幕墙
全玻幕墙
框支承玻璃幕墙
明框玻璃幕墙
隐框玻璃幕墙
玻璃幕墙
全玻璃幕墙
玻璃幕墙室内
玻璃幕墙立面
外墙玻璃幕墙报价表
玻璃幕墙外观
玻璃幕墙素材
玻璃幕墙效果图
玻璃幕墙门头
玻璃幕墙图片
玻璃幕墙平面图
商场玻璃幕墙
玻璃幕墙立面图
玻璃幕墙铝合金
别墅玻璃幕墙
玻璃幕墙龙骨
隐框玻璃幕墙节点详图
玻璃幕墙施工工艺图解
玻璃幕墙报价单价表
玻璃幕墙包工明细报价
说说分类
伤感说说
空间说说
心情说说
爱情说说
女生伤感
人生感悟
心情不好
说说带图片
生活的说说
心情短语
qq空间说说
个性说说
励志名言
经典语录
感悟人生
伤感句子
短句吧
情感故事
图片分类
伤感图片
伤感带字
非主流伤感
唯美伤感
女生伤感
唯美意境
悲伤的图片
意境伤感
只有字伤感
说说图片
伤心的图片
美甲图片
图片大全