x
伤感标签
伤感图片
伤感说说
伤感的句子说说心情
伤感图片
空间说说
心情说说
伤感图片带字
非主流伤感图片
爱情说说
女生伤感说说
人生感悟
唯美伤感图片
女生伤感图片
心情不好的说说
说说带图片
关于生活的说说
唯美意境图片
说说心情短语
悲伤的图片
唯美意境伤感图片
只有字的伤感图片
qq空间说说带图片
个性说说
说说图片
励志名言
伤心的图片
情感口述
一句话经典语录
美甲图片
图片大全
感悟人生的经典句子
短句吧
情感故事
情感图片
微信头像男
动态壁纸
抖音文案
动漫配图
伤感标签
首页
说说
动漫
口述
句子
图片
首页
>
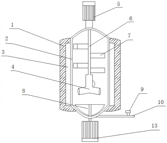
搅拌装置
搅拌装置,化学实验室搅拌装置
一种两级搅拌装置制造方法及图纸
cn202191868u_药液热搅拌装置失效
一种化学原料药生产用搅拌装置的制作方法
一种化工原料搅拌装置的制作方法
一种制浆用搅拌装置的制作方法
更多推荐
化学实验室搅拌装置
搅拌桶
搅拌咖啡
实验室搅拌装置
混凝土搅拌装置
搅拌杆
实验室搅拌装置图
实验室搅拌器装置图
混合装置
搅拌装置图
机械搅拌装置
加热搅拌装置
机械搅拌装置图
搅拌
立式搅拌装置结构图
搅拌罐
搅拌机构
搅拌桩
搅拌机
装置
搅拌反应釜
搅拌车
三口烧瓶搅拌装置图
搅拌摩擦焊
抽滤装置
接地装置
三轴搅拌桩
搅拌车简单
搅拌车料斗
小型搅拌车
说说分类
伤感说说
空间说说
心情说说
爱情说说
女生伤感
人生感悟
心情不好
说说带图片
生活的说说
心情短语
qq空间说说
个性说说
励志名言
经典语录
感悟人生
伤感句子
短句吧
情感故事
图片分类
伤感图片
伤感带字
非主流伤感
唯美伤感
女生伤感
唯美意境
悲伤的图片
意境伤感
只有字伤感
说说图片
伤心的图片
美甲图片
图片大全