x
伤感标签
伤感图片
伤感说说
伤感的句子说说心情
伤感图片
空间说说
心情说说
伤感图片带字
非主流伤感图片
爱情说说
女生伤感说说
人生感悟
唯美伤感图片
女生伤感图片
心情不好的说说
说说带图片
关于生活的说说
唯美意境图片
说说心情短语
悲伤的图片
唯美意境伤感图片
只有字的伤感图片
qq空间说说带图片
个性说说
说说图片
励志名言
伤心的图片
情感口述
一句话经典语录
美甲图片
图片大全
感悟人生的经典句子
短句吧
情感故事
情感图片
微信头像男
动态壁纸
抖音文案
动漫配图
伤感标签
首页
说说
动漫
口述
句子
图片
首页
>
90度翻转机构动画
90度翻转机构动画,90度翻转机构
翻转机构90度状态
你们心爱的36个机械原理,设计动画到货.
【转载】双侧90度翻转机构的多种设计方案
抓取90度翻转机构
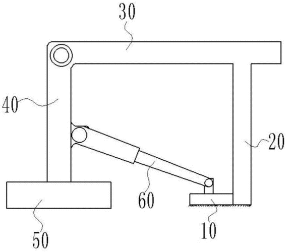
一种玻璃翻转机构的制作方法
更多推荐
90度翻转机构
翻转机构
经典90度翻转机构
机械式180度翻转机构
180度翻转机构动画
翻转机构动画
90°翻转机构
90度翻转机构机械原理
自动翻转机构
180度自动翻转机构
简易90度翻转机构动图
90度翻转机构设计
90度翻转机构原理动图
180度翻转机构动图
翻转机构动图
定块机构动画
90度旋转机构动图
连杆传动机构机械动画
各种简易翻转机构
简易翻转机构
90度旋转机构
简易180度翻转机构动图
摇块机构动画
90度机械旋转机构图片
偏心轮机构动画
90度翻转机构设计简图
翻转机构设计
简易90度翻转机
90度翻转机
90度翻转平台
说说分类
伤感说说
空间说说
心情说说
爱情说说
女生伤感
人生感悟
心情不好
说说带图片
生活的说说
心情短语
qq空间说说
个性说说
励志名言
经典语录
感悟人生
伤感句子
短句吧
情感故事
图片分类
伤感图片
伤感带字
非主流伤感
唯美伤感
女生伤感
唯美意境
悲伤的图片
意境伤感
只有字伤感
说说图片
伤心的图片
美甲图片
图片大全