x
伤感标签
伤感图片
伤感说说
伤感的句子说说心情
伤感图片
空间说说
心情说说
伤感图片带字
非主流伤感图片
爱情说说
女生伤感说说
人生感悟
唯美伤感图片
女生伤感图片
心情不好的说说
说说带图片
关于生活的说说
唯美意境图片
说说心情短语
悲伤的图片
唯美意境伤感图片
只有字的伤感图片
qq空间说说带图片
个性说说
说说图片
励志名言
伤心的图片
情感口述
一句话经典语录
美甲图片
图片大全
感悟人生的经典句子
短句吧
情感故事
情感图片
微信头像男
动态壁纸
抖音文案
动漫配图
伤感标签
首页
说说
动漫
口述
句子
图片
首页
>
玻璃幕墙的做法
玻璃幕墙的做法,玻璃幕墙
某吊挂式玻璃幕墙节点构造详图(十三)(下封窗台大样图)
幕墙施工节点做法详图(铝板幕墙,石材幕墙,玻璃幕墙).
铝板幕墙,石材幕墙,玻璃幕墙施工节点做法100多张详图
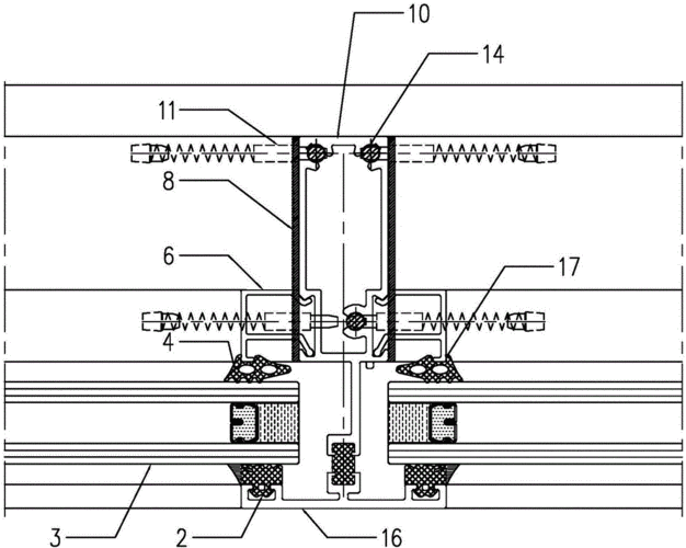
一种隐框玻璃幕墙系统的制作方法
一种内部可拆式玻璃幕墙系统的制作方法
更多推荐
玻璃幕墙
外墙玻璃幕墙报价表
隐框玻璃幕墙
全玻璃幕墙
玻璃幕墙龙骨
玻璃幕墙外观
玻璃幕墙室内
商场玻璃幕墙
玻璃幕墙门头
玻璃幕墙效果图
玻璃幕墙图片
别墅玻璃幕墙
玻璃幕墙素材
玻璃幕墙立面
玻璃幕墙铝合金
玻璃幕墙平面图
明框玻璃幕墙
玻璃幕墙立面图
玻璃幕墙施工工艺图解
面包的做法家庭做法
隐框玻璃幕墙节点详图
玻璃幕墙报价单价表
玻璃幕墙包工明细报价
槐花的吃法与做法
虎皮凤爪的做法
西兰花的做法
羊肉的做法大全
鸡的做法
冷面的做法
五花肉的做法大全
说说分类
伤感说说
空间说说
心情说说
爱情说说
女生伤感
人生感悟
心情不好
说说带图片
生活的说说
心情短语
qq空间说说
个性说说
励志名言
经典语录
感悟人生
伤感句子
短句吧
情感故事
图片分类
伤感图片
伤感带字
非主流伤感
唯美伤感
女生伤感
唯美意境
悲伤的图片
意境伤感
只有字伤感
说说图片
伤心的图片
美甲图片
图片大全