x
伤感标签
伤感图片
伤感说说
伤感的句子说说心情
伤感图片
空间说说
心情说说
伤感图片带字
非主流伤感图片
爱情说说
女生伤感说说
人生感悟
唯美伤感图片
女生伤感图片
心情不好的说说
说说带图片
关于生活的说说
唯美意境图片
说说心情短语
悲伤的图片
唯美意境伤感图片
只有字的伤感图片
qq空间说说带图片
个性说说
说说图片
励志名言
伤心的图片
情感口述
一句话经典语录
美甲图片
图片大全
感悟人生的经典句子
短句吧
情感故事
情感图片
微信头像男
动态壁纸
抖音文案
动漫配图
伤感标签
首页
说说
动漫
口述
句子
图片
首页
>
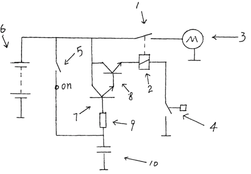
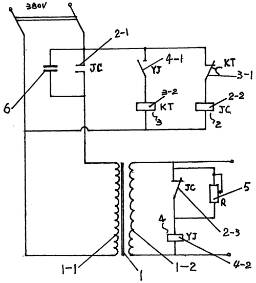
自动断电装置
自动断电装置,智能断电开关
cn2930941y_带空载自动断电装置的电焊机失效
一种家电电阻过大自动断电保护装置制造方法及图纸
电梯应急平层装置 11通用电梯应急断电平层 电梯救援
一种电力营销欠费自动断电装置的制作方法
自动延迟断电装置
更多推荐
智能断电开关
定时断电器
人走断电
自动断电
家用自动断电装置
室内无人自动断电装置
自动断电插座
电动车断电开关
自动断电插座电路图
双电源自动切换装置
自动断电器
断电延时继电器
公牛自动断电插座
停电断电报警器
断电延时电路图
公牛插座自动断电原理
一键断电开关
断电
断电开关
互动装置
汽车断电开关
一键断电
断电插座
装置
一键断电配电箱系统图
一键断电配电箱图片
立体机动装置
接地装置
断电开关图片
一键断电系统图
说说分类
伤感说说
空间说说
心情说说
爱情说说
女生伤感
人生感悟
心情不好
说说带图片
生活的说说
心情短语
qq空间说说
个性说说
励志名言
经典语录
感悟人生
伤感句子
短句吧
情感故事
图片分类
伤感图片
伤感带字
非主流伤感
唯美伤感
女生伤感
唯美意境
悲伤的图片
意境伤感
只有字伤感
说说图片
伤心的图片
美甲图片
图片大全