x
伤感标签
伤感图片
伤感说说
伤感的句子说说心情
伤感图片
空间说说
心情说说
伤感图片带字
非主流伤感图片
爱情说说
女生伤感说说
人生感悟
唯美伤感图片
女生伤感图片
心情不好的说说
说说带图片
关于生活的说说
唯美意境图片
说说心情短语
悲伤的图片
唯美意境伤感图片
只有字的伤感图片
qq空间说说带图片
个性说说
说说图片
励志名言
伤心的图片
情感口述
一句话经典语录
美甲图片
图片大全
感悟人生的经典句子
短句吧
情感故事
情感图片
微信头像男
动态壁纸
抖音文案
动漫配图
伤感标签
首页
说说
动漫
口述
句子
图片
首页
>
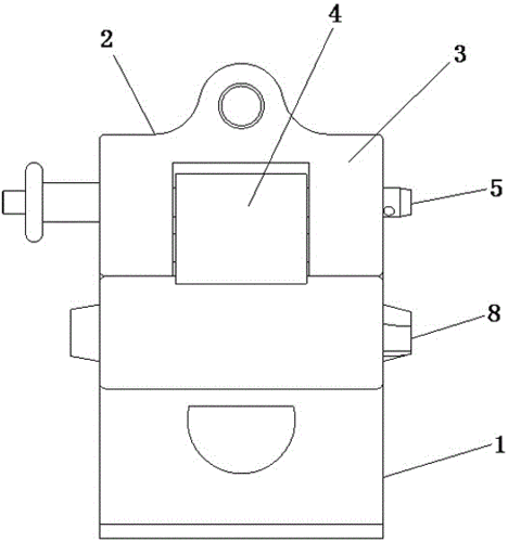
锚点装置
锚点装置,吊装锚点
一种消防用锚点固定装置制造方法及图纸
一种安全生命线过锚点装置的制作方法
一种高层建筑救援锚点固定装置的制作方法
基于aeb信号的可调安全带下锚点固定装置
一种水锚点式吸藻装置的制作方法
更多推荐
吊装锚点
锚点
装置
价格锚点
地图锚点
锚点定位
图片锚点
吊装锚点图片
吊装锚点示意图
蒸馏装置
锚点皮肤
抽滤装置
接地装置
艺术装置
回流装置
互动装置
分馏装置图
蒸馏装置图
抽滤装置图
防倒吸装置
抽滤装置简图
回流装置图
末端试水装置
立体机动装置
减压蒸馏装置
重结晶实验装置图
水蒸气蒸馏装置图
减压蒸馏装置图
分液漏斗装置图
索氏提取器装置图
说说分类
伤感说说
空间说说
心情说说
爱情说说
女生伤感
人生感悟
心情不好
说说带图片
生活的说说
心情短语
qq空间说说
个性说说
励志名言
经典语录
感悟人生
伤感句子
短句吧
情感故事
图片分类
伤感图片
伤感带字
非主流伤感
唯美伤感
女生伤感
唯美意境
悲伤的图片
意境伤感
只有字伤感
说说图片
伤心的图片
美甲图片
图片大全