x
伤感标签
伤感图片
伤感说说
伤感的句子说说心情
伤感图片
空间说说
心情说说
伤感图片带字
非主流伤感图片
爱情说说
女生伤感说说
人生感悟
唯美伤感图片
女生伤感图片
心情不好的说说
说说带图片
关于生活的说说
唯美意境图片
说说心情短语
悲伤的图片
唯美意境伤感图片
只有字的伤感图片
qq空间说说带图片
个性说说
说说图片
励志名言
伤心的图片
情感口述
一句话经典语录
美甲图片
图片大全
感悟人生的经典句子
短句吧
情感故事
情感图片
微信头像男
动态壁纸
抖音文案
动漫配图
伤感标签
首页
说说
动漫
口述
句子
图片
首页
>
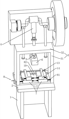
手动冲压机结构简图
手动冲压机结构简图,冲压机机构运动简图
冲床 价格优惠中 高精密冲床 序号 名称 参数 单位 1 机床型号
成形时所需的力,从而使坯料获得确定的变形,制成所需工件,可进行冲压
冲压设备保养 冲压机结构
高密封性冲床 本专利技术涉及冲压设备
一种冲压机制造技术
更多推荐
冲压机机构运动简图
简易冲压机机构简图
冲压机结构原理简图
手动冲床机构运动简图
冲压机结构图
冲压机运动简图
手动冲床运动简图
手动冲压机
机械结构简图
简易冲床机械原理简图
柱塞泵机构运动简图
心脏结构简图手绘图
肾单位结构示意图简图
牛头刨床结构简图
结构简图
液压小型冲压机
冲压机图片
冲压机工作原理和图解
大型冲压机图片
循环系统结构简图
小型冲压机
心脏结构简图
机构运动简图大全
花的结构简图
冲压机工作原理
冲压机原理
差速器结构简图
自动送料冲压机
冲压机
神经元的结构简图
说说分类
伤感说说
空间说说
心情说说
爱情说说
女生伤感
人生感悟
心情不好
说说带图片
生活的说说
心情短语
qq空间说说
个性说说
励志名言
经典语录
感悟人生
伤感句子
短句吧
情感故事
图片分类
伤感图片
伤感带字
非主流伤感
唯美伤感
女生伤感
唯美意境
悲伤的图片
意境伤感
只有字伤感
说说图片
伤心的图片
美甲图片
图片大全