x
伤感标签
伤感图片
伤感说说
伤感的句子说说心情
伤感图片
空间说说
心情说说
伤感图片带字
非主流伤感图片
爱情说说
女生伤感说说
人生感悟
唯美伤感图片
女生伤感图片
心情不好的说说
说说带图片
关于生活的说说
唯美意境图片
说说心情短语
悲伤的图片
唯美意境伤感图片
只有字的伤感图片
qq空间说说带图片
个性说说
说说图片
励志名言
伤心的图片
情感口述
一句话经典语录
美甲图片
图片大全
感悟人生的经典句子
短句吧
情感故事
情感图片
微信头像男
动态壁纸
抖音文案
动漫配图
伤感标签
首页
说说
动漫
口述
句子
图片
首页
>
恒流阀图片
恒流阀图片,恒流阀
厂家生产 恒流阀 不锈钢恒流阀门 支持定制欢迎选购
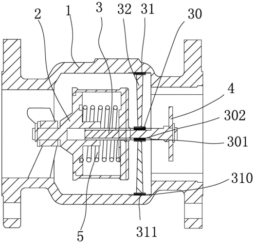
cn101147108b_恒流阀有效
一种油库装车系统恒流阀工作原理
一种锻造式可多级调节恒流阀的制作方法
标定恒流阀
更多推荐
恒流阀
恒流电源图片
恒流电路图
恒流恒压电源
恒流芯片
恒流源电路图
恒流源芯片
恒流阀打火机
恒流二极管
恒流电路
恒流
led恒流电源电路图
恒流电源
简单实用的恒流电路图
恒流源电路
led恒流驱动电路图
led灯恒流电源电路图
自制led恒流电源电路图
恒流充电
图片传说
图片
早上好图片最新图片
图片就这样
图片中国
花的图片
图片文化
风景图片
图片书法
心情图片
图片壁纸
说说分类
伤感说说
空间说说
心情说说
爱情说说
女生伤感
人生感悟
心情不好
说说带图片
生活的说说
心情短语
qq空间说说
个性说说
励志名言
经典语录
感悟人生
伤感句子
短句吧
情感故事
图片分类
伤感图片
伤感带字
非主流伤感
唯美伤感
女生伤感
唯美意境
悲伤的图片
意境伤感
只有字伤感
说说图片
伤心的图片
美甲图片
图片大全