x
伤感标签
伤感图片
伤感说说
伤感的句子说说心情
伤感图片
空间说说
心情说说
伤感图片带字
非主流伤感图片
爱情说说
女生伤感说说
人生感悟
唯美伤感图片
女生伤感图片
心情不好的说说
说说带图片
关于生活的说说
唯美意境图片
说说心情短语
悲伤的图片
唯美意境伤感图片
只有字的伤感图片
qq空间说说带图片
个性说说
说说图片
励志名言
伤心的图片
情感口述
一句话经典语录
美甲图片
图片大全
感悟人生的经典句子
短句吧
情感故事
情感图片
微信头像男
动态壁纸
抖音文案
动漫配图
伤感标签
首页
说说
动漫
口述
句子
图片
首页
>
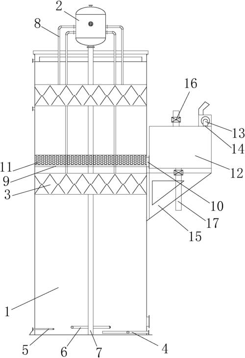
厌氧罐内部图
厌氧罐内部图,厌氧池实物图
厌氧发酵罐
uasb高效厌氧罐
一种ic厌氧罐
ic厌氧塔厌氧罐uasb厌氧反应器设备结构形式与优点介绍
一种用于玉米淀粉废水处理的厌氧罐的制作方法
更多推荐
厌氧池实物图
厌氧池工艺图
厌氧罐
厌氧罐内部结构图
厌氧塔图片
厌氧池结构图
厌氧塔的工作原理图
厌氧罐内部
厌氧罐三维图
厌氧塔内部构造图
ic厌氧罐结构图
厌氧罐布水器结构图
厌氧发酵罐结构图
厌氧池图片
uasb厌氧罐
ic厌氧塔图纸
厌氧瓶
厌氧塔布水器结构图
厌氧袋
厌氧池
uasb厌氧塔构造图
厌氧塔
厌氧氨氧化
ic厌氧塔水流演示图
沼气厌氧发酵罐
厌氧反应器
人体内部图腹部
厌氧产气袋
ubf厌氧反应器
厌氧发酵
说说分类
伤感说说
空间说说
心情说说
爱情说说
女生伤感
人生感悟
心情不好
说说带图片
生活的说说
心情短语
qq空间说说
个性说说
励志名言
经典语录
感悟人生
伤感句子
短句吧
情感故事
图片分类
伤感图片
伤感带字
非主流伤感
唯美伤感
女生伤感
唯美意境
悲伤的图片
意境伤感
只有字伤感
说说图片
伤心的图片
美甲图片
图片大全