x
伤感标签
伤感图片
伤感说说
伤感的句子说说心情
伤感图片
空间说说
心情说说
伤感图片带字
非主流伤感图片
爱情说说
女生伤感说说
人生感悟
唯美伤感图片
女生伤感图片
心情不好的说说
说说带图片
关于生活的说说
唯美意境图片
说说心情短语
悲伤的图片
唯美意境伤感图片
只有字的伤感图片
qq空间说说带图片
个性说说
说说图片
励志名言
伤心的图片
情感口述
一句话经典语录
美甲图片
图片大全
感悟人生的经典句子
短句吧
情感故事
情感图片
微信头像男
动态壁纸
抖音文案
动漫配图
伤感标签
首页
说说
动漫
口述
句子
图片
首页
>
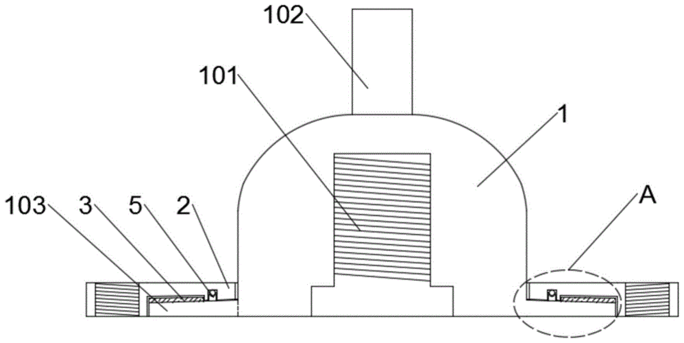
套管将军帽
套管将军帽,套管将军帽结构图
发现1号主变110kv b相套管搭头发热,最高温度在110kv b相套管将军帽处
一种主变高压套管将军帽的制作方法
越南帽将军帽塑料头盔防晒帽抗战表演道具太阳帽绿帽子户外运动帽
干式套管头部结构
304不锈钢通风管道 防雨帽将军帽烟道工业环保屋顶风球挡雨罩生产
更多推荐
套管将军帽结构图
变压器套管将军帽
主变套管将军帽图片
主变套管将军帽结构图
变压器将军帽
将军帽
古代将军帽
将军帽贝
中国将军帽
将军帽螺
将军帽路障
将军帽图片
将军大檐帽
海鲜将军帽
钢管套管
将军帽鲍鱼
将军常服帽子
气管套管
将军帽子图片
将军帽螺图片
套管
古代将军帽图片
将军帽螺狗爪螺
套管针
预埋套管
军官帽
夹套管
钢套管
防火套管
套管图片
说说分类
伤感说说
空间说说
心情说说
爱情说说
女生伤感
人生感悟
心情不好
说说带图片
生活的说说
心情短语
qq空间说说
个性说说
励志名言
经典语录
感悟人生
伤感句子
短句吧
情感故事
图片分类
伤感图片
伤感带字
非主流伤感
唯美伤感
女生伤感
唯美意境
悲伤的图片
意境伤感
只有字伤感
说说图片
伤心的图片
美甲图片
图片大全